Toggle menu
  • EUR
    • Hungarian Forint
    • Euro
    • BejelentkezésvagyFelíratkozás
    • 0

    Agrobearings Hungary

    English Deutschland Coming soon - France Coming soon - Polska Coming soon - Slovensko

    ×
      • Hungarian Forint
      • Euro
    ×

      Main Menu

    • Kezdőlap
    • Rólunk
    • Katalógusok
    • Értékesítési feltételek
      • Általános szerződési feltételek
      • Szállítás és költségek
      • Kifizetések
      • Visszatér
      • Magánélet
      • Impresszum
    • Érintkezés
      • B2B Portal

      Shop By Category

    • Golyóscsapágyak
      • Mélyhornyú Golyóscsapágy
      • Ferde Hatásvonalú Golyóscsapágy
      • Négypontérintkezős csapágy
      • Kétsorú merev ferde Golyóscsapágy
      • Kétsorú Önbeálló Golyóscsapágy
      • Kerék csapágy
      • Kinyomócsapágyak
      • Klíma csapágy
      • Lineáris csapágy
      • Dedikált-speciális golyóscsapágy
    • Y csapágyak
      • Betétcsapágy UC (YAR, GYE, LE)
      • Betétcsapágy SA (YET, RAE, GRAE, UY)
      • Betétcsapágy HC (YEL, UEL, GE, LY)
      • Betétcsapágy SB (YAT, GAY, UE)
      • Betétcsapágy UK (YSA, LK)
      • Betétcsapágy (GSH, SPH)
      • Betétcsapágy CS (172, 2..-NPP-B , EES, CB)
      • Betétcsapágy 2..-KRR
      • Betétcsapágy, négyzetfurattal (GW,W,SL,YQC,GVK)
      • Betétcsapágy, kerek furattal (GW, W, SL, LS)
      • Betétcsapágy, hatszögletű furattal (SK, YHC)
    • Csapágyegységek
      • Egységek típus LYGS (RMEO)
      • Egységek típus UCGS (RMEY, UCFCE)
      • Egységek típus UCP (SY -TF,RASEY, LES)
      • Egységek típus UCPA
      • Egységek típus UCF (FYJ -TF, RCJY, LEF
      • Egységek típus UCFL (FYTJ -TF, RCJTY,LEN)
      • Egységek típus UCT
      • Egységek típus SLLM (LSGR, RCJ)
      • Egységek típus SLMS (TCJ, UCFE, LSFR)
      • Egységek típus HS (TCF, LSQFG)
      • Egységek típus GWHG
      • Egységek típus LSNR
      • Egységek típus PL
      • Egységek típus NS
      • Egységek in acél préselt csapágyházak KSS
      • Egységek in acél préselt ST (GWST,AE,BK)
      • Egységek dedikált
    • Tárcsa csapágyak
      • AGRIHUB
    • Csapágyházak
      • Öntöttvas csapágyházak P (SY, ASE, S)
      • Öntöttvas csapágyházak F (FY, CJ)
      • Öntöttvas csapágyházak FL (FYT, CJT, N)
      • Öntöttvas csapágyházak típus LM (GR, GGME)
      • Öntöttvas csapágyházak MS
      • Öntöttvas csapágyházak G (FYC, FC)
      • Öntöttvas csapágyházak T (TU, TUE)
      • Öntöttvas csapágyházak U (SYF, PAE, SHE)
      • Öntöttvas csapágyházak V (SYFJ, PA)
      • Acél préselt csapágyházak PF (FLAN -MSB,C)
      • Acél préselt csapágyházak PFL(FLAN-MST,P)
      • Acél préselt csapágyházak PFT(FLAN-MSTR,D)
      • Acél préselt csapágyházak PP (GEH -BT, R)
      • FT Persely
      • Dedikált acél préselt csapágyházak
    • Hordógörgős csapágyak
      • Önbeálló, egysoros
      • Önbeálló, kétsoros
    • Kúpgörgős Csapágyak
      • metrikus méret
      • hüvelyk méret
      • Cone (hüvelyk méret)
      • Cup (hüvelyk méret)
    • Hengergörgős csapágyak
      • típus NU
      • típus RNU
      • típus NJ
      • típus NUP
      • típus N
      • típus NP
      • típus NF
      • típus SL (NCF)
      • típus Dedikált
    • Axiális Csapágyak
      • Axiális golyóscsapágy
      • Kétsoros axiális golyóscsapágy
      • Axiális gömbgörgős csapágy
      • Axiális hengergörgős csapágy
      • Axiális tűgörgős kosárszerkezet (AXK)
      • LS univerzális alátét axiális csapágyakhoz
      • AS univerzális alátét axiális csapágyakhoz
    • Vezetőgörgők
      • Golyókkal
      • Golyóscsapágy féltengellyel
      • Tűgörgő
      • Tűgörgő féltengellyel
      • Kombinált hengergörgős csapágy
    • Támasztógörgőak
      • típus NATV (FG)
      • Dedikált típus (SL)
    • Tűgörgős csapágyak
      • Tűcsapágy belső gyűrűvel (NA, NKI)
      • Tűcsapágy belső gyűrű nélkül (NK, RNA)
      • Egysorú tűgörgős kosárszerkezettípus (K)
      • Nyitott végű lemezházas tűgörgős (HK,SCE)
      • Belső gyűrű IR persely
      • Kombinált tűgörgős csapágy típus (NKX)
      • Dedikált tűgörgős csapágy
    • Siklócsapágyak
      • Gömbcsuklók típus GE .. SW (GAC .. F)
      • Gömbcsuklók típus GE .. ZO (GEZ .. ES)
      • Gömbcsuklók típus GE .. FO (GEH .. ES)
      • Gömbcsuklók típus GE .. DO (GE .. ES)
    • Gördülő elemek
      • Csapágygolyók
      • Csapágy Tűek
      • Görgők
    • Csapagy Kiegészítők
      • KMT Tengelyanya
      • Peremes szinteracél siklócsapágy perselyek
      • Szorítóhüvely
      • MB Biztosítólemezzel
      • Kéregedzett lineáris tengelyek
      • Tengelyanyak
      • Kazettás tömítések
      • Radiális tengelytömítések (Szimeringek)
      • Gumi fészekgyűrűk betétcsapágyhoz RIS
    • Shop By Brand

    • Z&S
    • FKL
    • NEU
    • KLT
    • UTL
    • SKF
    • GPZ
    • TIMKEN
    • FAG
    • TRIDELLA
    • WBW
    • IKL
    • ZKL
    • CX
    • KBS
    • WTW
    • INA
    • F&D
    • WBF
    • FLT
    • URB
    • SNR
    • DKF
    • XPS
    • NTN
    • KOYO
    • THP
    • FHY
    • BBC-R
    • MGM
    • AWB
    • NSK
    • FJK
    • STEYR
    • NQK
    • RXB
    • KG
    • KYK
    • TORRINGTON
    • BOWER
    • Corteco
    • PTI
    • TMB
    • VBF
    • VP
    • AKE
    • ARB
    • GUFERO
    • GUMET
    • HYATT
    • KONLON
    • LZWB
    • NBR
    • RHP
    • RIV
    • SUPTEX
    • XEZ
    • ZVL
    • ZWZ
    • BCA
    • C&R
    • CFB
    • DPI
    • FAFNIR
    • GMN
    • GP
    • IBC
    • KONGSKILDE
    • KPB
    • MAY
    • MRC
    • NACHI
    • NIS
    • NKE
    • NMB
    • ONA
    • PFI
    • RBC
    • ROLTOM
    • ROM
    • STYER
    • VMZ
    • WD
    • WN
    • ZXZ
    • View all Brands
    • Válasszon valutát EUR
      • Hungarian Forint
      • Euro
    • Ajándékutalványok
    • Bejelentkezés vagy Felíratkozás
    ×

      Main Menu

    • Kezdőlap
    • Rólunk
    • Katalógusok
    • Értékesítési feltételek
      • Általános szerződési feltételek
      • Szállítás és költségek
      • Kifizetések
      • Visszatér
      • Magánélet
      • Impresszum
    • Érintkezés
      • B2B Portal

      Shop By Category

    • Golyóscsapágyak
      • Mélyhornyú Golyóscsapágy
      • Ferde Hatásvonalú Golyóscsapágy
      • Négypontérintkezős csapágy
      • Kétsorú merev ferde Golyóscsapágy
      • Kétsorú Önbeálló Golyóscsapágy
      • Kerék csapágy
      • Kinyomócsapágyak
      • Klíma csapágy
      • Lineáris csapágy
      • Dedikált-speciális golyóscsapágy
    • Y csapágyak
      • Betétcsapágy UC (YAR, GYE, LE)
      • Betétcsapágy SA (YET, RAE, GRAE, UY)
      • Betétcsapágy HC (YEL, UEL, GE, LY)
      • Betétcsapágy SB (YAT, GAY, UE)
      • Betétcsapágy UK (YSA, LK)
      • Betétcsapágy (GSH, SPH)
      • Betétcsapágy CS (172, 2..-NPP-B , EES, CB)
      • Betétcsapágy 2..-KRR
      • Betétcsapágy, négyzetfurattal (GW,W,SL,YQC,GVK)
      • Betétcsapágy, kerek furattal (GW, W, SL, LS)
      • Betétcsapágy, hatszögletű furattal (SK, YHC)
    • Csapágyegységek
      • Egységek típus LYGS (RMEO)
      • Egységek típus UCGS (RMEY, UCFCE)
      • Egységek típus UCP (SY -TF,RASEY, LES)
      • Egységek típus UCPA
      • Egységek típus UCF (FYJ -TF, RCJY, LEF
      • Egységek típus UCFL (FYTJ -TF, RCJTY,LEN)
      • Egységek típus UCT
      • Egységek típus SLLM (LSGR, RCJ)
      • Egységek típus SLMS (TCJ, UCFE, LSFR)
      • Egységek típus HS (TCF, LSQFG)
      • Egységek típus GWHG
      • Egységek típus LSNR
      • Egységek típus PL
      • Egységek típus NS
      • Egységek in acél préselt csapágyházak KSS
      • Egységek in acél préselt ST (GWST,AE,BK)
      • Egységek dedikált
    • Tárcsa csapágyak
      • AGRIHUB
    • Csapágyházak
      • Öntöttvas csapágyházak P (SY, ASE, S)
      • Öntöttvas csapágyházak F (FY, CJ)
      • Öntöttvas csapágyházak FL (FYT, CJT, N)
      • Öntöttvas csapágyházak típus LM (GR, GGME)
      • Öntöttvas csapágyházak MS
      • Öntöttvas csapágyházak G (FYC, FC)
      • Öntöttvas csapágyházak T (TU, TUE)
      • Öntöttvas csapágyházak U (SYF, PAE, SHE)
      • Öntöttvas csapágyházak V (SYFJ, PA)
      • Acél préselt csapágyházak PF (FLAN -MSB,C)
      • Acél préselt csapágyházak PFL(FLAN-MST,P)
      • Acél préselt csapágyházak PFT(FLAN-MSTR,D)
      • Acél préselt csapágyházak PP (GEH -BT, R)
      • FT Persely
      • Dedikált acél préselt csapágyházak
    • Hordógörgős csapágyak
      • Önbeálló, egysoros
      • Önbeálló, kétsoros
    • Kúpgörgős Csapágyak
      • metrikus méret
      • hüvelyk méret
      • Cone (hüvelyk méret)
      • Cup (hüvelyk méret)
    • Hengergörgős csapágyak
      • típus NU
      • típus RNU
      • típus NJ
      • típus NUP
      • típus N
      • típus NP
      • típus NF
      • típus SL (NCF)
      • típus Dedikált
    • Axiális Csapágyak
      • Axiális golyóscsapágy
      • Kétsoros axiális golyóscsapágy
      • Axiális gömbgörgős csapágy
      • Axiális hengergörgős csapágy
      • Axiális tűgörgős kosárszerkezet (AXK)
      • LS univerzális alátét axiális csapágyakhoz
      • AS univerzális alátét axiális csapágyakhoz
    • Vezetőgörgők
      • Golyókkal
      • Golyóscsapágy féltengellyel
      • Tűgörgő
      • Tűgörgő féltengellyel
      • Kombinált hengergörgős csapágy
    • Támasztógörgőak
      • típus NATV (FG)
      • Dedikált típus (SL)
    • Tűgörgős csapágyak
      • Tűcsapágy belső gyűrűvel (NA, NKI)
      • Tűcsapágy belső gyűrű nélkül (NK, RNA)
      • Egysorú tűgörgős kosárszerkezettípus (K)
      • Nyitott végű lemezházas tűgörgős (HK,SCE)
      • Belső gyűrű IR persely
      • Kombinált tűgörgős csapágy típus (NKX)
      • Dedikált tűgörgős csapágy
    • Siklócsapágyak
      • Gömbcsuklók típus GE .. SW (GAC .. F)
      • Gömbcsuklók típus GE .. ZO (GEZ .. ES)
      • Gömbcsuklók típus GE .. FO (GEH .. ES)
      • Gömbcsuklók típus GE .. DO (GE .. ES)
    • Gördülő elemek
      • Csapágygolyók
      • Csapágy Tűek
      • Görgők
    • Csapagy Kiegészítők
      • KMT Tengelyanya
      • Peremes szinteracél siklócsapágy perselyek
      • Szorítóhüvely
      • MB Biztosítólemezzel
      • Kéregedzett lineáris tengelyek
      • Tengelyanyak
      • Kazettás tömítések
      • Radiális tengelytömítések (Szimeringek)
      • Gumi fészekgyűrűk betétcsapágyhoz RIS
    • Shop By Brand

    • Z&S
    • FKL
    • NEU
    • KLT
    • UTL
    • SKF
    • GPZ
    • TIMKEN
    • FAG
    • TRIDELLA
    • WBW
    • IKL
    • ZKL
    • CX
    • KBS
    • WTW
    • INA
    • F&D
    • WBF
    • FLT
    • URB
    • SNR
    • DKF
    • XPS
    • NTN
    • KOYO
    • THP
    • FHY
    • BBC-R
    • MGM
    • AWB
    • NSK
    • FJK
    • STEYR
    • NQK
    • RXB
    • KG
    • KYK
    • TORRINGTON
    • BOWER
    • Corteco
    • PTI
    • TMB
    • VBF
    • VP
    • AKE
    • ARB
    • GUFERO
    • GUMET
    • HYATT
    • KONLON
    • LZWB
    • NBR
    • RHP
    • RIV
    • SUPTEX
    • XEZ
    • ZVL
    • ZWZ
    • BCA
    • C&R
    • CFB
    • DPI
    • FAFNIR
    • GMN
    • GP
    • IBC
    • KONGSKILDE
    • KPB
    • MAY
    • MRC
    • NACHI
    • NIS
    • NKE
    • NMB
    • ONA
    • PFI
    • RBC
    • ROLTOM
    • ROM
    • STYER
    • VMZ
    • WD
    • WN
    • ZXZ
    • View all Brands
    • Válasszon valutát EUR
      • Hungarian Forint
      • Euro
    • Ajándékutalványok
    • Bejelentkezés vagy Felíratkozás

    Kategória szerinti vásárlás

  • Golyóscsapágyak
    • Mélyhornyú Golyóscsapágy
    • Ferde Hatásvonalú Golyóscsapágy
    • Négypontérintkezős csapágy
    • Kétsorú merev ferde Golyóscsapágy
    • Kétsorú Önbeálló Golyóscsapágy
    • Kerék csapágy
    • Kinyomócsapágyak
    • Klíma csapágy
    • Lineáris csapágy
    • Dedikált-speciális golyóscsapágy
  • Y csapágyak
    • Betétcsapágy UC (YAR, GYE, LE)
    • Betétcsapágy SA (YET, RAE, GRAE, UY)
    • Betétcsapágy HC (YEL, UEL, GE, LY)
    • Betétcsapágy SB (YAT, GAY, UE)
    • Betétcsapágy UK (YSA, LK)
    • Betétcsapágy (GSH, SPH)
    • Betétcsapágy CS (172, 2..-NPP-B , EES, CB)
    • Betétcsapágy 2..-KRR
    • Betétcsapágy, négyzetfurattal (GW,W,SL,YQC,GVK)
    • Betétcsapágy, kerek furattal (GW, W, SL, LS)
    • Betétcsapágy, hatszögletű furattal (SK, YHC)
  • Csapágyegységek
    • Egységek típus LYGS (RMEO)
    • Egységek típus UCGS (RMEY, UCFCE)
    • Egységek típus UCP (SY -TF,RASEY, LES)
    • Egységek típus UCPA
    • Egységek típus UCF (FYJ -TF, RCJY, LEF
    • Egységek típus UCFL (FYTJ -TF, RCJTY,LEN)
    • Egységek típus UCT
    • Egységek típus SLLM (LSGR, RCJ)
    • Egységek típus SLMS (TCJ, UCFE, LSFR)
    • Egységek típus HS (TCF, LSQFG)
    • Egységek típus GWHG
    • Egységek típus LSNR
    • Egységek típus PL
    • Egységek típus NS
    • Egységek in acél préselt csapágyházak KSS
    • Egységek in acél préselt ST (GWST,AE,BK)
    • Egységek dedikált
  • Tárcsa csapágyak
    • AGRIHUB
  • Csapágyházak
    • Öntöttvas csapágyházak P (SY, ASE, S)
    • Öntöttvas csapágyházak F (FY, CJ)
    • Öntöttvas csapágyházak FL (FYT, CJT, N)
    • Öntöttvas csapágyházak típus LM (GR, GGME)
    • Öntöttvas csapágyházak MS
    • Öntöttvas csapágyházak G (FYC, FC)
    • Öntöttvas csapágyházak T (TU, TUE)
    • Öntöttvas csapágyházak U (SYF, PAE, SHE)
    • Öntöttvas csapágyházak V (SYFJ, PA)
    • Acél préselt csapágyházak PF (FLAN -MSB,C)
    • Acél préselt csapágyházak PFL(FLAN-MST,P)
    • Acél préselt csapágyházak PFT(FLAN-MSTR,D)
    • Acél préselt csapágyházak PP (GEH -BT, R)
    • FT Persely
    • Dedikált acél préselt csapágyházak
  • Hordógörgős csapágyak
    • Önbeálló, egysoros
    • Önbeálló, kétsoros
  • Kúpgörgős Csapágyak
    • metrikus méret
    • hüvelyk méret
    • Cone (hüvelyk méret)
    • Cup (hüvelyk méret)
  • Hengergörgős csapágyak
    • típus NU
    • típus RNU
    • típus NJ
    • típus NUP
    • típus N
    • típus NP
    • típus NF
    • típus SL (NCF)
    • típus Dedikált
  • Axiális Csapágyak
    • Axiális golyóscsapágy
    • Kétsoros axiális golyóscsapágy
    • Axiális gömbgörgős csapágy
    • Axiális hengergörgős csapágy
    • Axiális tűgörgős kosárszerkezet (AXK)
    • LS univerzális alátét axiális csapágyakhoz
    • AS univerzális alátét axiális csapágyakhoz
  • Vezetőgörgők
    • Golyókkal
    • Golyóscsapágy féltengellyel
    • Tűgörgő
    • Tűgörgő féltengellyel
    • Kombinált hengergörgős csapágy
  • Támasztógörgőak
    • típus NATV (FG)
    • Dedikált típus (SL)
  • Tűgörgős csapágyak
    • Tűcsapágy belső gyűrűvel (NA, NKI)
    • Tűcsapágy belső gyűrű nélkül (NK, RNA)
    • Egysorú tűgörgős kosárszerkezettípus (K)
    • Nyitott végű lemezházas tűgörgős (HK,SCE)
    • Belső gyűrű IR persely
    • Kombinált tűgörgős csapágy típus (NKX)
    • Dedikált tűgörgős csapágy
  • Siklócsapágyak
    • Gömbcsuklók típus GE .. SW (GAC .. F)
    • Gömbcsuklók típus GE .. ZO (GEZ .. ES)
    • Gömbcsuklók típus GE .. FO (GEH .. ES)
    • Gömbcsuklók típus GE .. DO (GE .. ES)
  • Gördülő elemek
    • Csapágygolyók
    • Csapágy Tűek
    • Görgők
  • Csapagy Kiegészítők
    • KMT Tengelyanya
    • Peremes szinteracél siklócsapágy perselyek
    • Szorítóhüvely
    • MB Biztosítólemezzel
    • Kéregedzett lineáris tengelyek
    • Tengelyanyak
    • Kazettás tömítések
    • Radiális tengelytömítések (Szimeringek)
    • Gumi fészekgyűrűk betétcsapágyhoz RIS
  • Márka szerinti vásárlás

  • Z&S
  • FKL
  • NEU
  • KLT
  • UTL
  • SKF
  • GPZ
  • TIMKEN
  • FAG
  • TRIDELLA
  • View all Brands
    • Home
    • Csapagy Kiegészítők
    • Gumi fészekgyűrűk betétcsapágyhoz RIS
    • Gumi gyűrű RIS 208 (UC) [Z&S]
  • Gumi gyűrű RIS 208 (UC) - 1
  • Gumi gyűrű RIS 208 (UC) - 2
  • Drawing RIS 208 (UC)
  • Gumi gyűrű RIS 208 (UC) - 1 Gumi gyűrű RIS 208 (UC) - 2 Drawing RIS 208 (UC)

    Gumi gyűrű RIS 208 (UC) [Z&S]

    Z&S

    MSRP:
    Was:
    Now: 3,62€
    Adóval együtt
    MSRP:
    Now: 2,94€
    Adó nélkül
    (Megtakarítás )
    (No reviews yet) Vélemény írása
    SKU:
    6416
    Súly:
    0,10 KGS
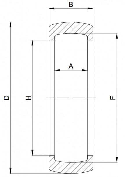
    Külső átmérő [D]:
    85 mm
    Belső gyűrű szélessége [B]:
    26 mm
    A:
    21 mm
    H:
    73 mm
    F:
    80 mm

    Kívánságlistához adás
    • Új kívánságlista létrehozása

    Share This Article

    • Overview
    • Reviews

    Termékleírás

     

    -Gép gyártója szerint: 

    - RIS208

    - RABR80/85

    Product Videos

    Custom Field

    Külső átmérő [D] 85 mm
    Belső gyűrű szélessége [B] 26 mm
    A 21 mm
    H 73 mm
    F 80 mm

    Product Reviews

    Vélemény írása

    Írj véleményt

    ×
    Gumi gyűrű RIS 208 (UC) - 1
    Z&S
    Gumi gyűrű RIS 208 (UC) [Z&S]

    Recommended

    • Gumi gyűrű RIS 204 (UC) - 1 Gumi gyűrű RIS 204 (UC) - 2 Gumi gyűrű RIS 204 (UC) - 1 Gumi gyűrű RIS 204 (UC) - 2
      Gyors nézet Details

      Z&S

      |

      sku: 6412

      Gumi gyűrű RIS 204 (UC) [Z&S]

      MSRP:
      Was:
      Now: 2,08€ Adóval együtt
      MSRP:
      Now: 1,69€ Adó nélkül
      Részletek megtekintése
    • Gumi gyűrű RIS 206 (UC) - 1 Gumi gyűrű RIS 206 (UC) - 2 Gumi gyűrű RIS 206 (UC) - 1 Gumi gyűrű RIS 206 (UC) - 2
      Gyors nézet Details

      Z&S

      |

      sku: 6414

      Gumi gyűrű RIS 206 (UC) [Z&S]

      MSRP:
      Was:
      Now: 2,52€ Adóval együtt
      MSRP:
      Now: 2,05€ Adó nélkül
      Részletek megtekintése
    • Gumi gyűrű RIS 205 (UC) - 1 Gumi gyűrű RIS 205 (UC) - 2 Gumi gyűrű RIS 205 (UC) - 1 Gumi gyűrű RIS 205 (UC) - 2
      Gyors nézet Details

      Z&S

      |

      sku: 6413

      Gumi gyűrű RIS 205 (UC) [Z&S]

      MSRP:
      Was:
      Now: 2,19€ Adóval együtt
      MSRP:
      Now: 1,78€ Adó nélkül
      Részletek megtekintése
    • Gumi gyűrű RIS 207 (UC) - 1 Gumi gyűrű RIS 207 (UC) - 2 Gumi gyűrű RIS 207 (UC) - 1 Gumi gyűrű RIS 207 (UC) - 2
      Gyors nézet Details

      Z&S

      |

      sku: 6415

      Gumi gyűrű RIS 207 (UC) [Z&S]

      MSRP:
      Was:
      Now: 0,00€ Adóval együtt
      MSRP:
      Now: 0,00€ Adó nélkül
      Részletek megtekintése
    • Gumi gyűrű RIS 208 (SB/SA) - 1 Gumi gyűrű RIS 208 (SB/SA) - 2 Gumi gyűrű RIS 208 (SB/SA) - 1 Gumi gyűrű RIS 208 (SB/SA) - 2
      Gyors nézet Details

      Z&S

      |

      sku: 6411

      Gumi gyűrű RIS 208 (SB/SA) [Z&S]

      MSRP:
      Was:
      Now: 3,62€ Adóval együtt
      MSRP:
      Now: 2,94€ Adó nélkül
      Kosárba
    ×
    ×
    Csatlakozzon levelezőlistánkhoz akciós ajánlatokért!
    Érintkezés
    Agrobearings s.r.o.
    Komenského 22
    Komárno 945 01
    Szlovákia
    Számlák és megrendelések
    • Wishlist
    • Bejelentkezés vagy Felíratkozás
    Gyors linkek
    • Kezdőlap
    • Rólunk
    • Katalógusok
    • Értékesítési feltételek
    • Érintkezés
    Mastercard MasterPass VISA Visa Pay AMEX SEPA Payment iDeal Google Pay Apple Pay PayPal
    • © Agrobearings Hungary
    • |
    • Webhelytérkép
    • |
    • Agrobearings e-Shop is powered by Agrobearings s.r.o.